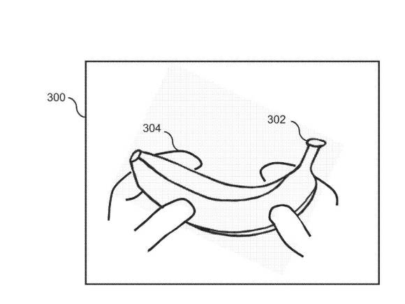
The technology world was surprised by the news this week that the United States Patent and Trademark Office recently received a bizarre request from Sony Interactive Entertainment Inc. to patent a system in which a banana, amongst other ordinary household objects and food products, could become PlayStation controllers.
Apparently, and according to the patent, the system comprises of an input unit which can obtain images from non-luminous passive objects which are held by a user, and which once recognized and scanned, can be used as a video game controller.

We are obviously not only talking about bananas. Sony uses one to illustrate the system (see illustration above from Sony´s patent documentation) but other foodstuff could be used, such as oranges or apples for example, held in each hand. The patent anticipates that almost any inanimate object capable of being held in your hand, should work.
The technology, just like some bananas, is still a bit green. But if it should come to fruition, we could be talking about a bunch of options (sorry, I could not help it!) to play games and about the ultimate recyclable game peripheral. In fact, it should make it a lot easier to tell your kids “Ok, you can play for 30 minutes but only if, when you finish, you eat your banana!”.
What do you think?
Until next time.
Ignacio
IA
Ignacio Alperin nació en Argentina, creció en Australia y vivió temporariamente en varios países alrededor del mundo. Posee una experiencia internacional extensa, y diversa, obtenida en una carrera profesional alejada de lo lineal. Hoy en día es Profesor de Entrepreneurship en los MBAs de la Universidad Católica Argentina (UCA), Profesor de Creatividad e Innovación (Grado) en UCA Internacional, es un Emprendedor serial, consultor, orador en eventos nacionales e internacionales, y artista plástico.
Ignacio Alperin was born in Argentina, grew up in Australia and lived temporarily in several countries around the world. He has extensive and diverse international experience, obtained in a professional career far from the linear. Nowadays he is Professor of Entrepreneurship in the MBAs of the Argentine Catholic University (UCA), Professor of Creativity and Innovation (Degree) in UCA International, a serial Entrepreneur, consultant, speaker in national and international events, and an artist.
© 2021 Ignacio Alperin
